Классы компонентов: 1.13.1.5. Шкафы распределительные силовые (ШР, ШРС)
На основании задания ГИПа разработан рабочий проект общего освещения, электроснабжения розеточной сети. «Площади для реализации проекта Литейный цех АБК»
В составе проекта разработаны:
Принципиальная однолинейная схема ВРУ2, Принципиальная однолинейная схема ЩАО2.1, Принципиальная однолинейная схема ЩО2.1, Принципиальная однолинейная схема ЩО2.2, Принципиальная однолинейная схема ЩР2.1
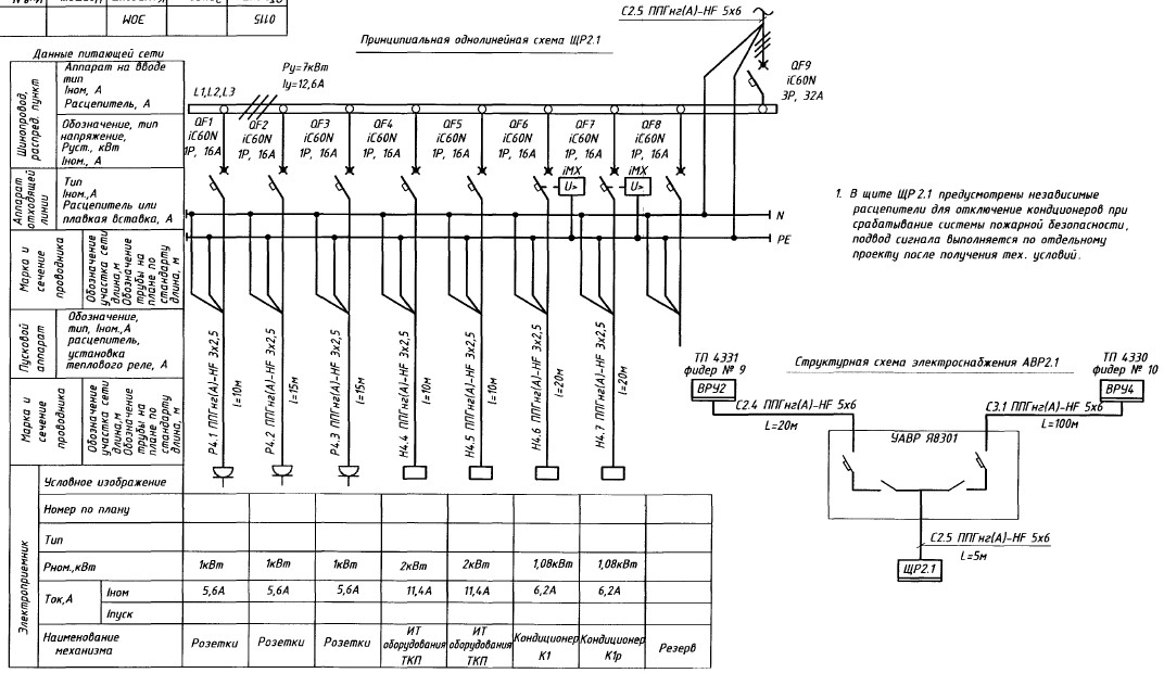
В ЩР2.1 предусмотрены независимые расцепители для отключения кондиционеров при срабатывании системы пожарной безопасности, подвод сигнала выполняется по отдельному проекту.
1. В электроустановках 0,4/0,23 кВ предусмотрены меры электробезопасности для защиты людей от поражения электрическим током как в нормальном режиме работы (защита при прямом прикосновении), так и при повреждении изоляции (защита при косвенном прикосновении) в соответствии с гл. 1.7 ПУЭ изд. 7 .
2. С целью обеспечения требований п 1.7.79 ПУЭ 7 изд., к шинам РЕ щитов присоединены основная и дополнительная системы уравнивания потенциалов, соединяющие между собой нулевые защитные проводники, а также одновременно доступные прикосновению металлоконструкции для прокладки кабелей, стальные трубы, проводящие части электрооборудования, нормально не находящиеся под напряжением, с заземленными металлоконструкциями здания с использованием защитных проводников РЕ и ст. полосы.
3. Соединение заземляющих и нулевых защитных проводников обеспечивают надежный контакт. Допускается выполнять контактные соединения способами, обеспечивающими требования ГОСТ 10434-82 "Соединения контактные электрические. Общие технические требования" по второму классу соединений согласно гл. 1.7 ПУЭ (7 изд.)

Рис.1. Принципиальная однолинейная схема ВРУ2.

Рис.2. Принципиальная однолинейная схема ЩАО2.1.

Рис.3. Принципиальная однолинейная схема ЩР2.1.
Составлена спецификация и посчитана стоимость изготовления НКУ.

Рис.3. Пример созданной спецификации в программе Профсектор.
Срок реализации данного проекта составил 10 рабочих дней.

По окончании работ произведена проверка работоспособности собранного оборудования.
Для размещения заказов на проектирование, расчет стоимости и изготовления НКУ отправляйте запрос на почту:
+7(831) 2-153-163; +7-951-901-17-33
С уважением
Урванцев Валерий Владимирович.
В сравнении